Aluminium Venetian Blinds
Sleek, stylish, and built to last - our Aluminium Venetian Blinds are available in 25mm, 35mm, and 50mm slat sizes to suit any window and interior style. Choose your preferred control side for a tailored fit, with an optional tri-wand available on the left or right.
These blinds also offer a privacy option with 25mm slats for enhanced light control and discretion. Perfect for both residential and commercial spaces.
Extensive selection of slat colours and textures
25mm, 35mm and 50mm slat sizes
Mixed slats and tensioned option available
Colour Options
Aluminium Slat Colours - 25mm, 35mm & 50mm
Shades of Grey
28 colours
Creams
22 colours
Wood
10 colours
Metallic
28 colours
Perforated
6 colours
Vivid
28 colours
Sample Swatch
Brackets & Installation
25mm Brackets and Installation
25mm Universal Bracket - Standard
25mm Box Bracket
25mm Top Fix Bracket
25mm Concealed Bracket
Top-fix Installation | 25mm Universal Bracket
Fix the Universal Bracket onto the ceiling or top of the recess with screws
Insert the headrail into the bracket and secure it in place by closing the lock lever
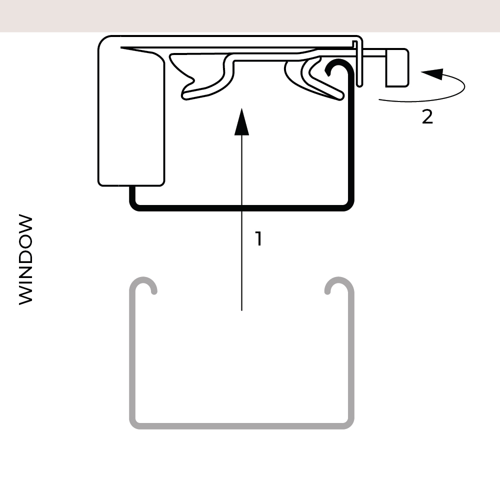
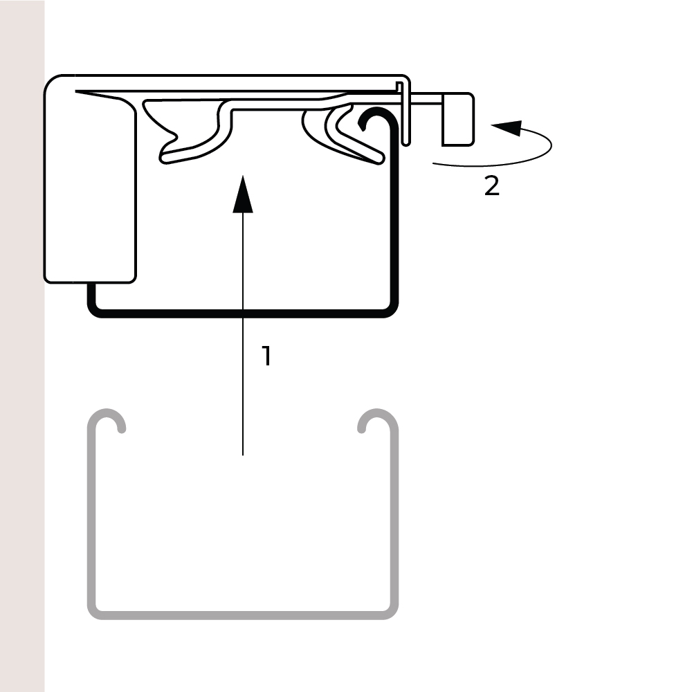
Face-fix Installation | 25mm Universal Bracket
Fix the Universal Bracket to the wall with screws
Insert the headrail into the bracket and secure it in place by closing the lock lever
35mm & 50mm Brackets and Installation
35mm & 50mm Universal Bracket - Standard
35mm & 50mm Box Bracket
Top-fix Installation | 35mm & 50mm Universal Bracket
Fix the Universal Bracket onto the ceiling or top of the recess with screws
Insert the headrail into the bracket and secure it in place by closing the lock lever
Face-fix Installation | 35mm & 50mm Universal Bracket
Fix the Universal Bracket to the wall with screws
Insert the headrail into the bracket and secure it in place by closing the lock lever
Technical Specifications
Aluminium Venetians | Min & Max sizes
| Range | Min. width | Max. width | Min. drop | Max. drop |
|---|---|---|---|---|
| ALUMINIUM VENETIAN - 25mm SLAT | 120mm | 3000mm | 100mm | 3000mm |
| ALUMINIUM VENETIAN - 35mm SLAT | 250mm | 3000mm | 100mm | 3000mm |
| ALUMINIUM VENETIAN - 50mm SLAT | 250mm | 3000mm | 100mm | 3000mm |
| TENSIONED ALUMINIUM VENETIAN - 25mm SLAT | 162mm | 1400mm | 150mm | 3000mm |
Measuring Guide
Inside Recess Installation
1. Measure the width of the recess at the top, middle, and bottom. Use the smallest measurement.
2. Measure the height of the recess from the top to the windowsill in three places. Use the smallest measurement.
Outside Recess Installation
1. Measure the width of the area you want the blind to cover, adding at least 50mm on each side.
2. Measure the height from where the blind will be mounted to the desired length, adding at least 50mm below the windowsill for proper coverage.
Our Wowvow Promise
You choose how much to pay.
Five Year Warranty
For your peace of mind!
Made in Britain
Going beyond the certificate.

